
鞏義市新躍供水材料有限公司專業生產各種型號防水套管,型號齊全,質量保證,支持來圖定制。
(1)柔性防水套管02S404國標長度300mm,均有現貨。特殊長度,3-5天發貨,請及時聯系我們。
(2)隨貨發檢驗報告、合格證等資料。
(3)承接各種大型工程,如:【中國水利水電第十一工程局有限公司安裝分局武漢泵站DN2800\DN3200柔性、剛性防水套管;蘭州市政建設集團有限責任公司;合肥地鐵2號線;江蘇江都建設集團有限公司;陜西華海水利工程有限公司;新疆和山巨力化工有限公司;北京興順康蘭工程機械有限公司等等】
(4)產品型號過多,價格無法一一注明,下單前請咨詢旺旺或者電話:13253475755

······以下圖片均為新躍供水廠家實景實地拍攝,盜圖必究!······



02S404柔性防水套管一般適用于管道穿過墻壁之處受有振動或有嚴密防水要求的構筑物;剛性防水套管一般適用于管道穿過墻壁之處要求一般防水的構筑物;柔性及剛性防水套管穿墻處之墻壁,如遇非混凝土時應改用混凝土墻壁,而且必須將套管一次凝固于墻內;防水套管施用于建筑、化工、鋼鐵、自來水、污水處理等單位。
產品名稱:02S404柔性防水套管
產品別名:穿墻防水套管、預埋防水套管
產品規格:【DN50mm-DN3200mm】
接頭顏色:天藍色、綠色、紅色實物顏色見商品展示圖片.
適用范圍:【鋼管、PP管】
產品認證:國際ISO9001-2001
產品等級:A級
工作溫度:-20度至80度(還可加工整體304、316、316L不銹鋼)
產品優勢
02S404柔性防水套管是適用于管道穿過墻壁之處受有振動或有嚴密防水要求的構筑物的五金管件。防水套管的外部焊接止水翼環,內部設有密封墊,法蘭內絲連接,根據管道安裝的實際情況設計訂制,用于墻體兩面都需要做防水,建議您使用02S404防水套管。比如潛水式水泵給排水系統管道墻體兩端都要給予防水處理,防止結構滲水!
產品特點
1當迎水面為腐蝕性介質時,可采用封堵材料將縫隙封堵.
2 套管穿墻處如遇非混凝土墻壁時,應局部改用混凝土墻壁,其澆注圍應比翼環直徑(D5)大200,而且必須將套管一次澆固于墻內。
3穿管處混凝土墻厚應不小于300,否則應使墻壁一邊或兩邊加厚,加厚部分的直徑至少為D5+200.
4套管的重量以L=300計算,如墻厚大于300時,應另行計算。
5柔性填料材料:瀝青麻絲,聚苯乙烯板,聚氯乙烯泡沫塑料板。
6 密封膏:聚硫密封膏,聚胺脂密封膏。
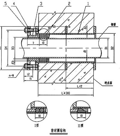
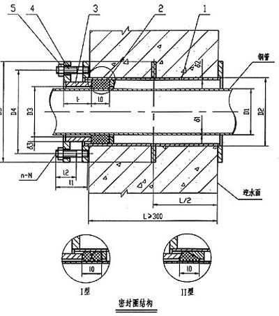
產品示意圖
1、本圖尺寸均以毫米來計。
2、柔性防水套管一般穿過墻壁之處受有振動或有嚴密防水要求的構筑物。
3、套管部分加工完成后,在其外壁均刷底漆一遍(底漆包括樟丹或冷底子油)。外層防腐由設計決定。
4、套管穿墻之墻壁,如遇非混凝土墻壁時應改用混凝土墻壁,其澆注混凝土范圍應比翼環直徑( D6 )大 200mm ,而且必須將套管澆固與墻內。
5、穿管處之混凝土墻厚應不小于 300mm 否則應使墻壁一邊加厚或兩邊加厚。加厚部分的直徑最小應比翼環直徑( D6 ) 200mm
6、套管的材料重量是按墻厚 L 值為 300mm 應另行計算。
7、套管部件焊接材料,用 A3 材料制作, T42 焊接。
說明:
1、當迎水面為腐蝕性介質時,可采用封堵材料將縫隙封堵。
2、套管穿墻處如遇非混凝土墻壁時,應局部改用混凝土墻壁,其澆注范圍應比翼環直徑(D5)大200,而且必須將套管一次澆固于墻內。
3、穿管處混凝土墻厚應不小于300,否則應使墻壁一邊加厚或兩邊加厚,加厚部分的直徑至少為D5+200。
4、套管的重量以L=300計算,如墻厚大于300時,應另行計算。

說明:
1、柔性填料材料:瀝青麻絲、聚苯乙烯板、聚氯乙烯泡沫塑料板。
2、密封膏:聚硫密封膏、聚胺脂密封膏。
3、套管穿墻處如遇非混凝土墻壁時,應局部改用混凝土墻壁,其澆注范圍應比翼環直徑(D5)大200,而且必須將套管一次澆固于墻內。
4、穿管處混凝土墻厚應不小于300,否則應使墻壁一邊加厚或兩邊加厚,加厚部分的直徑至少為D5+200。
5、套管的重量以L=300計算,如墻厚大于300時,應另行計算。
產品規格
| 序號 | 名稱 | 數量 | 材料 | 備注 |
| 1 | 法蘭套管 | 1 | Q235-A | 焊接件 |
| 2 | 密封圈I型 | 2 | 橡膠 | |
| 密封圈II型 | 1 | 橡膠 | ||
| 3 | 法蘭壓蓋 | 1 | Q235-A | 焊接件 |
| 4 | 螺柱 | N | 4.8 | GB897-884 |
| 5 | 螺母 | N | 4 | GB/T41-200 |
02S404型柔性防水套管尺寸重量表
| DN | D1 | D2 | D3 | D4 | D5 | ι | ι0 | ι1 | ι2 | δ1 | δ2 | δ3 | n-M | A型重量(kg) | B型重量(kg) | |||
| Ⅰ型 | Ⅱ型 | Ⅰ型 | Ⅱ型 | Ⅰ型 | Ⅱ型 | |||||||||||||
| 50 | 60 | 95 | 65 | 145 | 200 | 65 | 28 | / | 72 | 30 | 3.5 | 4 | 8 | 4-M12 | 14.40 | / | 14.60 | / |
| 65 | 76 | 114 | 80 | 165 | 220 | 65 | 28 | 25 | 72 | 30 | 3.75 | 4 | 8 | 4-M12 | 16.89 | 17.07 | 17.18 | 17.35 |
| 80 | 89 | 127 | 95 | 180 | 235 | 65 | 28 | 25 | 76 | 38 | 4 | 4 | 10 | 4-M16 | 21.12 | 21.31 | 21.42 | 21.61 |
| 100 | 108 | 146 | 114 | 200 | 255 | 65 | 28 | 25 | 76 | 38 | 4 | 4.5 | 10 | 6-M16 | 24.37 | 24.58 | 24.71 | 24.92 |
| 125 | 133 | 180 | 140 | 235 | 290 | 65 | 28 | 25 | 76 | 38 | 4 | 6 | 10 | 6-M16 | 31.92 | 32.31 | 32.43 | 32.82 |
| 150 | 159 | 203 | 165 | 260 | 315 | 65 | 28 | 25 | 76 | 38 | 4.5 | 6 | 10 | 6-M16 | 35.77 | 36.17 | 36.31 | 36.72 |
| 200 | 219 | 265 | 226 | 320 | 375 | 65 | 28 | 25 | 76 | 38 | 6 | 6 | 10 | 8-M16 | 44.69 | 45.29 | 45.29 | 45.87 |
| 250 | 273 | 325 | 280 | 380 | 435 | 65 | 28 | 25 | 76 | 38 | 8 | 8 | 10 | 8-M20 | 59.41 | 60.22 | 60.43 | 61.33 |
| 300 | 325 | 377 | 333 | 435 | 495 | 72 | 32 | 30 | 90 | 46 | 8 | 10 | 10 | 8-M20 | 89.37 | 90.02 | 90.35 | 91.14 |
| 350 | 377 | 426 | 385 | 485 | 545 | 72 | 32 | 30 | 90 | 46 | 10 | 10 | 10 | 8-M20 | 99.74 | 100.3 | 100.7 | 101.5 |
| 400 | 426 | 480 | 435 | 540 | 600 | 72 | 32 | 30 | 90 | 46 | 10 | 10 | 10 | 12-M20 | 114.0 | 114.8 | 115.3 | 116.4 |
| 450 | 480 | 530 | 488 | 590 | 650 | 72 | 32 | 30 | 90 | 46 | 10 | 10 | 10 | 12-M20 | 124.1 | 124.7 | / | / |
| 500 | 530 | 585 | 538 | 645 | 705 | 72 | 32 | 30 | 90 | 46 | 10 | 10 | 10 | 16-M20 | 139.3 | 140.5 | / | / |
| 600 | 630 | 690 | 640 | 755 | 820 | 75 | 40 | 30 | 104 | 54 | 10 | 10 | 12 | 16-M24 | 197.2 | 198.2 | / | / |
| 700 | 720 | 780 | 730 | 845 | 910 | 75 | 40 | 30 | 104 | 54 | 10 | 10 | 12 | 20-M24 | 222.6 | 223.7 | / | / |
| 800 | 820 | 880 | 830 | 950 | 1020 | 80 | 40 | 40 | 117 | 60 | 10 | 10 | 12 | 20-M27 | 280.0 | 282.3 | / | / |
| 900 | 920 | 980 | 930 | 1050 | 1120 | 80 | 40 | 40 | 117 | 60 | 10 | 10 | 12 | 20-M27 | 309.6 | 312.2 | / | / |
| 1000 | 1020 | 1080 | 1030 | 1150 | 1220 | 80 | 40 | 40 | 117 | 60 | 10 | 10 | 12 | 24-M27 | 341.1 | 344.0 | / | / |
產品服務
專業制造、專業服務,新躍為你創造更多價值
不斷提升服務質量,精益求精,“真誠的服務”是新躍永恒的主題。新躍嚴格按照 ISO9001-2000 質量體系認證要求,質量嚴格把關,責任到人,確保生產、銷售、服務的健康運行。加強與用戶溝通,竭誠為廣大客戶提供優質產品,至善至美服務,特此新躍做出如下承諾:
產品標準
產品嚴格按照中國 GB、HG 標準和美國 API 等標準設計、制造、驗收。密封面硬度達到國家規定要求,寬度超過國家標準。
售前服務
產品介紹,技術交流,非標產品設計,疑難解答。
售中服務
1、守信合同,保證及時供貨,隨時保持與客戶聯系
2、對特殊或復雜的產品,我廠安排技術人員對用戶進行產品使用、故障排除、調式及維修進行培訓和指導。
售后服務
1、新躍產品質保期為自出廠起 12 個月,實行“三包”服務(包退、包換、包修)。
2、產品在使用中我廠定期組織技術、檢查人員進行訪問,征詢用戶對產品質量、使用狀況、改進意見等方面的反饋,以便進一步提高產品質量。
3、對用戶投訴產品質量問題,快速做出反映,售后服務人員在 24-36 小時(省外 48 小時)趕赴現場。
訂貨流程與須知
1、客戶采購清單請聯系在線客服,或加新躍官方QQ:2172152931 / 發至郵箱:2172152931@qq.com / 來電咨詢13253475755。
2、收到客戶采購清單,為客戶提供產品型號選型與報價(價格清單)。
3、具體商定:交貨期、特殊要求等事宜。
訂貨須知
1、客戶對產品有特殊要求,須在訂貨合同中提供以下說明:
(1)結構長度
(2)連接形式
(3)公稱直徑、全通徑、縮徑、管道尺寸
(4)用介質及溫度、壓力范圍
(5)實驗、檢驗標準及其他要求本廠可根據客戶特殊要求配置定做和設計特殊產品。
2、本廠可根據客戶特殊要求配置定做和設計特殊產品。
3、如由客戶提供確定的產品類型和型號時,客戶應正確說明其型號的含義和要求,在供需雙方理解一致的條件下簽訂合同。


![{sdcms[webname]} {sdcms[webname]}](/skins/2009/dw/images/foot_logo.png)
微信